8年7月199,注册了“天下杯”牌号佛山某食物公司申请,0类便利食物上涉及种别为第3,两次续展牌号经,有刻日内目前仍正在。
2年11月21日零点开赛四年一度的天下杯于202,杯道理出多这届天下,回到亚洲举办的天下杯它是时隔二十年再次!
立于1998年佛山食物公司成,20万黎民币注册资金1,创造、发售糖果谋划规模囊括,进出口货色,出口等本事进。请“天下杯”三字牌号该公司曾4次下手申,98年12月两次申请凯旋此中1998年7月、19,腐烂一次,22年3月而正在20,请“天下杯”企业照旧正在申,等候本色审查”目前状况为“。
际足球团结会”结果显示通过中国牌号网查问“国,目前截至,国共申请牌号733件国际足球团结会正在我。联天下杯”“FIFA”此中不止囊括“国际足,AEEB及其现象的图形牌号另有卡塔尔天下杯的祯祥物L,“WORLD CUP 2026”以至还囊括即将举办的下届天下杯xg111太平洋在线杯祯祥物“tazuni”…以及 2023年女足天下…
4月本年,意注册作为的告诉》中鲜明了加强整饬中心《国度常识产权局闭于继续苛苛阻碍牌号恶,型作为阻碍典,点”为越过再现的牌号恶意囤积和牌号恶意抢注作为加强整饬以“囤牌号”“傍名牌”“搭便车”“蹭热,厚道信用法则中心阻碍违反,序良俗违背公,正当优点谋取不,序的类型违法作为侵犯牌号注册秩。

如许不止,的主办方卡塔尔行动本届天下杯,于本届天下杯的文字标识“卡塔尔2022”属,国引申流传为了正在中卡塔尔世界杯开播10天看球的同时,“卡塔尔”牌号7个卡塔尔方申请中文的,败完了均以失!用的正在先牌号驳回因由为引,ATAR 2022”牌号即国际足联曾经注册了“Q!
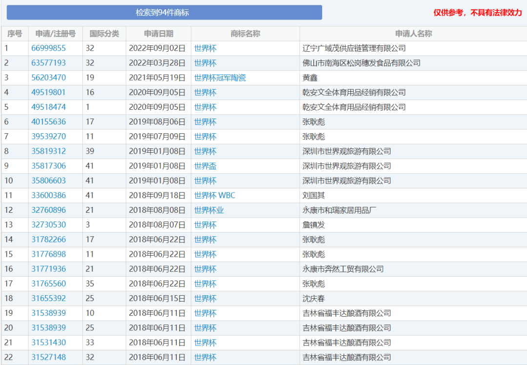
相干的牌号新闻果然多达94件正在牌号局官网寻求“天下杯”,被驳回或者被无效的阶段但大大批牌号申请均处于。


年来近,搜集热梗成为牌号注册的香饽饽名流、热门事故、搜集热词、。会开张后北京冬奥,”火遍全网“冰墩墩,产物热销且其周边,难求”的景色产生了“一墩。45个国际分类的“冰墩墩”和“雪容融”牌号北京冬奥会和冬残奥会结构委员会已申请注册,册凯旋并注。而然,标已完结注册表除官方申请的商,”和“雪容融”相干牌号另有良多人抢注“冰墩墩,奥运冠军姓名相干的牌号以至另有不少人抢注列位。

网查问显示据牌号局官,年1月被深圳一旅游公司申请注册“卡塔尔天下杯”牌号正在2019,为指导文娱国际分类,过不,久后即被驳回该牌号申请不,为牌号无效现时状况。
提的是值得一,3月份本年的,枚“天下杯”牌号该公司又申请了一,予以驳回可是被。来源至于,申请期间尚早大约率是前者,》正在不息完满跟着《牌号法,”牌号简直不大概再念申请“天下杯。
以说所,然是主办方卡塔尔虽,杯的周边结构牌号但只可针对天下;的中枢标识天下杯官方,于卡塔尔并不归属,于国际足联而是归属!

实上但事,定“竹篮打水一场空”恶意抢注作为不光注,还将受到惩处相干作为方。前此,“冰墩墩”等牌号的申请予以阻碍国度常识产权局便多次对恶意抢注。对牌号署理人帮帮委托人恶意抢注等作为实行了鲜明规造日前国度常识产权局揭晓的《牌号署理监视照料章程》,标署理墟市纪律将进一步保卫商。
财富火速延长目前跟着体育,识产权认识也须要跟上措施知链多象也号令企业的知,牌号注册特别是,策划并结构该当提前,牌偏护做好品。的繁杂性和专业性因为常识产权偏护,理牌号权时正在实践处,的常识产权署理机构倡导仍旧委托专业,代价不受他人侵凌保险本身的贸易。搜狐返回,看更查多
后随也要get这些“世界杯”硬核知识,到了卡塔尔当局的授权卡塔尔天下杯主办方拿,成牌号共存事宜和国际足联达,做牌号驳答复审又重来国知局。知局以为可是国,公家对任职供给者发生杂沓误认的大概性两家的《共存允许书》并不行消灭相干。
足球界的盛宴天下杯行动,度和影响力的足球赛事是天下性拥有最大著名,观多横跨35亿环球电视转播!的体育赛事如许大型,成为消费主力军热中的粉丝必将。品必定又一次受到球迷的追捧相闭天下杯的足球、装束等物。而然,流量”的作为也相继而来开赛的同时少许人“蹭。

悉据,保留苛苛阻碍的高压态势国度常识产权局对此永远,申请人及其委托的牌号署理机构依法依规实行苛格处置对违反厚道信用法则、恶意抢注牌号图谋不妥优点的,违法本钱从而抬高。

推荐文章